Número Browse:0 Autor:editor do site Publicar Time: 2026-02-28 Origem:alimentado
A função do molde do cilindro da máquina de papel
O molde cilíndrico é o principal componente no qual a folha de papel é formada na máquina de papel cilíndrica. Exija que ele filtre a água de maneira uniforme e não gere agitação excessiva no tanque de malha durante a rotação. O molde do cilindro deve ter rigidez suficiente e dimensões geométricas precisas e deve ser instalado horizontalmente.
Os moldes cilíndricos são divididos em: moldes cilíndricos comuns, tipo chip, sucção e vácuo, de acordo com sua estrutura; Dividido por material: molde de cilindro comum, todo em cobre e aço inoxidável.
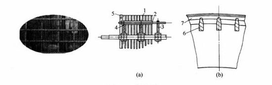
A imagem abaixo é um diagrama esquemático de uma estrutura típica de molde cilíndrico.

Um dispositivo de nervura de suporte de latão chamado raios é instalado no eixo de ferro fundido, com um espaçamento entre raios de 100-150 mm. Os raios sustentam o aro central da roda e são circundados por ranhuras. As ranhuras são equipadas com barras horizontais do mesmo comprimento do molde do cilindro. O diâmetro da barra horizontal é de cerca de 1 cm, com uma distância centro a centro de cerca de 4 cm, paralela ao eixo central. A barra horizontal é feita de aço ou latão e sua seção transversal pode ser circular ou retangular. As duas rodas mais externas são fundidas com anéis salientes para formar uma vedação com as partes correspondentes da ranhura da malha, isolando o interior e o exterior do molde do cilindro. Fresando pequenas ranhuras serrilhadas na barra horizontal de acordo com uma linha espiral, enrolando um fio de metal contínuo com um diâmetro de cerca de 3 mm em forma de espiral ao redor do molde do cilindro para formar uma estrutura de cilindro de malha em forma de cilindro. A distância entre os fios metálicos adjacentes é de cerca de 1 cm. Por fim, cubra o fio de cobre com uma camada mais espessa de malha de latão ou aço inoxidável e, a seguir, cubra-o com uma malha mais fina usada na fabricação de papel. Tanto a malha interna quanto a malha superficial são malhas finais, que são apertadas na estrutura do molde do cilindro com ferramentas especiais e conectadas por soldagem de prata ou soldagem elétrica. A montagem final deve ser bem redonda e concêntrica com o eixo central, com rigidez suficiente para suportar a pressão dos rolos sem deformação. A faixa de diâmetro do molde de cilindro padrão é de cerca de 1-1,5 m, e a especificação comumente usada é de 1,2 m.
O dispositivo de rolamento do molde do cilindro está localizado fora da ranhura da malha. As duas extremidades do molde do cilindro são conectadas à caixa lateral da ranhura da malha. Depois que a polpa é conectada à grade, a água branca filtrada no molde do cilindro através de uma malha de cobre entra na caixa lateral de ambas as extremidades do molde do cilindro e é então bombeada por uma bomba de água branca para reciclagem.

A malha interna do molde do cilindro é geralmente de malha 8-16, usada principalmente para dispersar a pressão dos rolos e manter a malha da superfície plana. A malha é relativamente densa e usada para filtrar fibras para formar uma teia de papel, normalmente variando de malha 40-100. A seleção do tamanho da malha depende principalmente da variedade de papel produzido, e o tamanho da malha mais comumente usado para a produção de papel cultural em geral é a malha 65.
A figura a seguir mostra uma forma estrutural do molde cilíndrico tipo cavaco. O molde cilíndrico tipo chip refere-se à mudança do disco externo de um molde cilíndrico regular de um fio de cobre com diâmetro de 3 mm para uma placa de aço inoxidável com seção transversal retangular. Suas principais características são: aumentar a área e velocidade de filtração e melhorar a produção; Melhorar a qualidade do papel, incluindo uniformidade, gramatura, proporção e reduzir o consumo e custos de manutenção de malha de cobre, feltros e outros materiais; Fortalecer a integridade geral e o desempenho anticorrosivo dos equipamentos, com alta resistência, boa rigidez e durabilidade. Existem três tipos de molde cilíndrico que foram desenvolvidos e produzidos: chip de passagem, chip de enrolamento e chip inclinado.
![]() | ![]() |